Чтобы запросить цену ниже, укажите номер телефона и e-mail.
Все остальные данные Вы сможете сообщить менеджеру.
Производитель
Напряжение питания редуктора
Тип редуктора
Тип устройства
Интенсивность
Ширина проезда
Тип стрелы
Подсветка стрелы
Напряжение питания
Скорость открытия

Комплект шлагбаума CAME Gard 4000 ширина проезда 4 метра; скорость откр. 2-6 с; класс защиты IP54; интенсивность - высокая; диапазон рабочих температур от -20°С до +55°С; напряжение питания 230В; напряжение питания двигателя 24В; тип редуктора электромеханический: G 4000 - Тумба с блоком управления G 0401 - Стрела прямоугольная 4 м G 0461 - Наклейки на стрелу / 24шт. / G 0403 - Накладки на стрелу 4м.
Преимущества шлагбаумов Came
- Возможность установки аксессуаров непосредственно на тумбу, без необходимости использования дополнительных принадлежностей.
- Несколько вариантов стрел из окрашенного алюминия.
- Используя шарнир для складывания стрелы установка шлагбаума возможна местах с ограниченной высотой.
- Came S.p.A. имеет сертификаты систем управления качеством UNI ISO 9001 и охраны окружающей среды UNI EN ISO 14001
Блок управления
- Автоматическое определение кода между передатчиком и приемником.
- Возможность управления в режиме "Присутствие оператора" для обеспечения максимальной безопасности.
- Регулировка времени автоматического закрывания.
- Предварительное включение сигнальной лампы после подачи команды для предупреждении о движении стрелы.
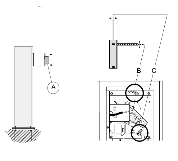
Монтаж GARD 4000
Этап 1

Для установки шлагбаума забетонируйте площадку в соответствии с размерами монтажного основания. При бетонировании заложите в бетон монтажное основание с анкерными пластинами.
Бетонное основание должно быть строго горизонтально и полностью очищено. Резьбы всех болтов со стороны бетонного основания должны быть открыты на всю длину. Из бетонного основания также должны быть выведены наружу необходимые электрические кабели.
Этап 2

Установите тумбу шлагбаума на бетонное основание.
ВНИМАНИЕ! Рекомендуется устанавливать корпус таким образом, чтобы дверца могла открываться со стороны охраняемой площадки. Смонтируйте шлагбаум следующим образом: сначала определите требуемую длину стрелы шлагбаума. Затем закрепите стрелу шлагбаума с помощью держателя (А) и четырех болтов, входящих в комплект поставки.
В конечных положениях шлагбаума (открыто/закрыто), стрела должна быть строго вертикальна и горизонтальна. Выравнивание достигается положением механических упоров (B) и (С) (см. рисунок).
Запчасти для шлагбаума CAME GARD 4000

| 119RIG006 | Основание монтажное GARD |
| 119RIG040 | Микровыключатели G4000 |
| 119RIG044 | Крепление стрелы G4000 |
| 119RIG046 | Механизм разблокировки GARD |
| 119RIG055 | Пластина крепления стрелы G4000 |
| 119RIG056 | Корпус шлагбаума G4000 |
| 119RIG059 | Ограничитель нижний с креплением G4000 |
| 119RIG069 | Корпус шлагбаума G4001 |
| 119RIG070 | Дверца G4001 |
| 119RIG078 | Ограничитель верхний с креплением G4000 |
| 119RIG082 | Пружина G4000/G6000 в сборе |
| 119RIG088 | Дверца G2500, G4000 |
| 119RIG089 | Замок блокиратора |
| 119RIG180 | Болт крепления пружины верхний G4040, G4041 |
| 119RIG194 | Моторедуктор G4000, G4000I |
| 119RIG213 | Замок дверцы G2500, G3250, G3750, G4000 |
| 119RIG226 | Дверца G2500N, G4000N |
| 119RIG228 | Корпус шлагбаума G4000N |
| 119RIR083 | Микровыключатель без рычага |
| 119RIR111 | Трансформатор ZL37 |
| 119RIR238 | Корпус блока управления G2080, G2081 |
| 3199ZL37F | Плата блока управления ZL37F |
| 3199ZL38 | Плата блока управления ZL38 |
| 88003-0064 | Ключ для G2500, G3250, G3750, G4000 |
| 88003-0112 | COPRIFORO ARMADIO G4000 G5000 G6000 5PZ |
Запчасти для моторедуктора G4000 от шлагбаума CAME GARD 4000

| 119RIG046 | Механизм разблокировки GARD |
| 119RIG047 | Электродвигатель GARD24 |
| 119RIG049 | Корпус редуктора GARD |
| 119RIG051 | Вал деблокиратора в сборе G4000, G4040, G6000 |
| 119RIG052 | Рычаг мотора G4000 |
| 119RIG094 | Червяк G2500 |
| 119RIG215 | Шпилька GARD |
| 119RIG050 | Выходной вал G4000 |
| 88001-0188 | Прокладка редуктора GARD |
| 88003-0011 | Шестерня пластиковая GARD |
Вас может заинтересовать шлагбаум CAME GARD 4000 COMBO CLASSICO.
Купить Шлагбаум CAME GARD 4000 комплект в интернет-магазине СЕК-ГРУПП в Москве: Черницынский проезд, д.3, стр.1 (метро Щелковская). Доставка по России.
1 шт.
1 шт.
1 шт.
1 шт.

Электропитание
Макс. потребляемый ток
Мощность
Макс. крутящий момент
Передаточное отношение
Время открывания
Интенсивность работы
Класс защиты
Масса
Класс изоляции
1 шт.
1 шт.
1 шт.
1 шт.
До ТК (СДЭК, ПЭК, Деловые Линии) - 0 Р
Остальные транспортные компании - 1000 Р
Заказы от 60 000 Р (по ценам сайта) - 0 Р
В пределах МКАД заказы стоимость > 5 000 руб. и < 2 кг - 750 руб., > 2 кг составляет 1000 руб.
Негабарит МКАД - 1300 Р (более 5 метров - 2000 Р)
За МКАД - 1000 Р + 90Р/км
Негабарит за МКАД - 1300Р + 110Р/км (более 5 метров - 2000 Р + 110Р/км)
г. Москва, Черницынский пр-д, д. 3 стр. 1. метро Щелковская
г. Уфа, ул. Трамвайная, д. 2 оф. 1-02
Мы правильно определили ваш город?
Оплата осуществляется путем банковского перевода денежных средств с расчетного счета покупателя на наш расчетный счет.
Счет выставляется по запросу в печатном или электронном виде. Счет действителен в течении 3-х банковских дней за исключением оборудования производства компании PERCo.
Оплата наличными производится в офисах компании при получении товара со склада по адресам:
- г. Москва, Черницынский проезд, д.3, стр.3
- г. Уфа, Трамвайная улица, д.2, офис 1-02
Стоимость заказа передаётся водителю компании при получении товара.




















