Чтобы запросить цену ниже, укажите номер телефона и e-mail.
All other data you can tell the manager.
Ростов-Дон ТТ10М1-220 (0420-01) тумбовый турникет с автоматическими штангами (автоматические-реверс)
Производитель
Код производителя
Материал
Количество считывателей
Количество зон прохода
Встроенный контроллер
Встроенный картоприемник
Ширина зоны прохода
Стандарт интерфейса связи
Место установки
Ростов-Дон ТТ10М1-220 штанги автоматические-реверс - тумбовый турникет с автоматическими штангами. Ширина перекрываемого прохода 785 мм. Турникет поддерживает подключение к любым типам СКУД.
Пропускная способность турникета в режиме свободного прохода составляет 30-50 чел./мин. Турникет ТТ10М1-220 АР оснащен встроенным источником питания 220В/12В, и поставляется с автоматическими штангами. Планка реверс автоматически опускается и поднимается по команде.
Работа турникета контролируется как системой управления доступа, так и при помощи пульта ДУ.
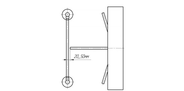
Схема установки турникета Ростов-Дон ТТ10М1-АР:

- Распакуйте турникет и проверьте его комплектность;
- Подготовьте и закрепите специальные крепежные (анкерные) болты;
- Установите турникет и закрепите его;
- Для правильной работы СКУД турникета необходимо установить его с ограждением прохода так, как показано на рисунке ниже. Вместо ограждения прохода может быть стена, при этом конец штанги должен быть на расстоянии 20-50мм от ограждения или стены;
- Заземлите корпус турникета;
- При необходимости изменить направление срабатывания кнопок ПДУ, поменяйте местами цепи по контактам 1 и 8 клеммника ХS1, выключив питание;
- Прикрепите к турникету кожуха поз.9 четырьмя винтами М4х16. Установите четыре планки поз.10 вставив верхний конец планки в специальный зацеп, а нижний прикрутите винтом М4х30 шестигранным ключом 2,5 мм;
- После завершения монтажа турникет готов к работе. Подключите блок питания к сети, при этом механизм турникета должен быть в исходном состоянии.
Купить Ростов-Дон ТТ10М1-220 штанги автоматические-реверс (0420-01) в интернет-магазине СЕК-ГРУПП в Москве: Черницынский проезд, д.3, стр.1 (метро Щелковская). Доставка по России.

Напряжение питания турникета
Стыковка со СКУД
Пропускная способность в режиме однократного прохода
Масса турникета
-без штанг
-со штангами
Ширина перекрываемого прохода
Допустимые статические усилия на середине преграждающей штанги, не более
Рабочий температурный диапазон
Срок эксплуатации, не менее
Габариты
Масса
До ТК (СДЭК, ПЭК, Деловые Линии) - 0 Р
Остальные транспортные компании - 1000 Р
Заказы от 60 000 Р (по ценам сайта) - 0 Р
В пределах МКАД заказы стоимость > 5 000 руб. и < 2 кг - 750 руб., > 2 кг составляет 1000 руб.
Негабарит МКАД - 1300 Р (более 5 метров - 2000 Р)
За МКАД - 1000 Р + 90Р/км
Негабарит за МКАД - 1300Р + 110Р/км (более 5 метров - 2000 Р + 110Р/км)
г. Москва, Черницынский пр-д, д. 3 стр. 1. метро Щелковская
г. Уфа, ул. Трамвайная, д. 2 оф. 1-02
Мы правильно определили ваш город?
Оплата осуществляется путем банковского перевода денежных средств с расчетного счета покупателя на наш расчетный счет.
Счет выставляется по запросу в печатном или электронном виде. Счет действителен в течении 3-х банковских дней за исключением оборудования производства компании PERCo.
Оплата наличными производится в офисах компании при получении товара со склада по адресам:
- г. Москва, Черницынский проезд, д.3, стр.3
- г. Уфа, Трамвайная улица, д.2, офис 1-02
Стоимость заказа передаётся водителю компании при получении товара.











